給排水工程是機電安裝五大分部之一,也是貫穿建筑工程施工全過程的重要內容,本文是基于工程實例對給排水施工工藝的全流程解讀,可供大家參考實施!

給排水工程施工工藝
▼
給水施工工藝流程圖

排水施工工藝流程圖

下面從這八個方面實例解讀給排水施工
▼
①管道安裝 ②管道封堵 ③水泵安裝
④消防部件安裝 ⑤屋面管道安裝
⑥實驗 ⑦成品保護 ⑧末端安裝
一管道安裝
1)支架選型
單根角鋼支架,倒小圓角或切小斜角

角鋼門字型吊架,下方切大斜角或小斜角

說明:
(1)整個工地風格需統一
(2)落地門型支架需煨彎,門字型吊架可煨彎或焊接連接
2)垂直管道安裝
單管安裝

1.槽鋼 2.管碼 3.管道
多管安裝

1.角鋼 2.連接板 3.管碼 4.管道
說明:支架的槽鋼或角鋼規格根據荷載計算確定,支架形式也會根據承重有所變化
3)水平管道安裝
單管安裝(DN50~DN200)

1.角鋼 2.連接板(8mm) 3.管碼 4.管道
單管安裝(DN100?DN300)

1.角鋼 2.連接板(10mm,做為承重支架,當使用80以上的角鋼時采用) 3.管碼 4.管道
單管安裝(DN25~DN80)

1.角鋼 2.連接板(6mm) 3.管碼 4.管道
噴淋系統防晃支架
多管安裝

1.支架橫擔 2.鍍鋅螺桿 3.管碼 4.管道 5.頂爆螺栓 6.緊固螺栓
4)管道安裝實例
垂直安裝

管道安裝前支架上下采用鐵絲作垂直吊線,保證立管垂直度
水平安裝

在施工前須在砼結構下彈控制線,保證支架在一直線上
垂直安裝

水平安裝

管道平行敷設,安裝牢固,間距合理,標識清晰,穿板封堵美觀
5)管道部件安裝
檢查口安裝

排水立管檢查口中心高度距操作地面為1m,朝向應便于檢修,鑄鐵排水立管檢查口之間的距離不宜大于10m,塑料排水立管每六層設置一個檢查口
連接

用于室內排水的水平管道與水平管道、水平管道與立管的連接,應采用45°三通或45°四通和90°斜三通或90°斜四通,封堵止水環
6)水井安裝

裝表前應排凈管內雜物,以防堵塞,水表應水平安裝,箭頭方向與水流方向一致
二管道封堵
1)管道封堵選型



2)管道封堵實例
穿板封堵要點

套管與管道對中,環縫一致,填料平整,標色分明
穿墻封堵要點


1、穿墻管道事先采用鋼筋點焊固定預留套管
2、套管內部不能有接頭,管道支架、閥門、接頭等應該距離套管200mm以上
3、明裝與裝飾要求高的創優工程,套管外應設裝飾蓋,起到防火與美觀的作用
3)透氣管安裝
透氣管出屋面安裝


1、套管周圍在屋面混凝土找平層施工時,用水泥砂漿筑成錐形阻水圈
2、管道與套管間的環形縫隙應采用防水膠泥或無機填料嵌實
三水泵安裝
1)基礎設置


生活水泵房、消防水泵房基礎邊宜寬出設備底座100-150mm,水泵基礎高度宜設置為200mm,并沿水泵周邊設置寬度不少于200mm寬的排水溝
2)臥式水泵安裝

3)立式水泵安裝

1、立式水泵底座下應設槽鋼基礎,擴大立式水泵基礎接觸面積,增加水泵平穩牢固性;槽鋼基礎與水泵底座螺栓剛性連接
2、立式水泵不得采用彈簧減震器;大型立式水泵最好采用穩定性好的橡膠減震墊;多臺立式泵可采取組合機組安裝,增加水泵的整體穩定性
4)水泵安裝實例
立式水泵

臥式水泵

1、水泵的進出口應設軟接頭
2、水泵都需接地
3、設備配管合理,附件成排成線,固定支架位置正確
5)潛污泵安裝

1-潛污泵 2-出水管 3-掛鉤 4-電纜 5-自動耦合裝置 6-液位自動控制裝置 7-集水井進水管
潛污泵泵坑在安裝前必須清理泵坑中的雜物垃圾,避免潛污泵泵安裝運行損壞
6)潛污泵安裝實例

1、排水管伸入井坑時不得與井坑蓋板接觸,其間隙應為30—50mm
2、潛污泵排水管閥門與部件從下往上依次為:軟接頭—壓力表—止回閥—閘閥,閘閥的安裝高度為地坪完成面上1.5m,三通高度宜為地坪高度2m處
3、閥門與部件的兩端,三通橫管中部均設置支架,壓力排水污廢水管道指示與管道類別標示清楚,管道標志色為黑色
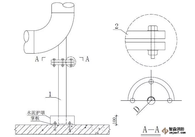
7)管道彎頭輔助支座
圖例

實例

柱管法蘭盤距離地面完成面小于等于一米,管道直徑為DN100?150時,柱管為DN50;管道直徑為DN200?250 時,柱管為DN65mm;當設計另有減振要求時,需另考慮設置減振等
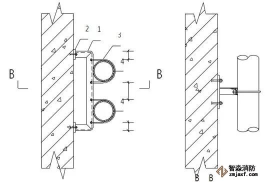
8)泵房落地支架護墩
圖例

實例

1、連接板需用膨脹螺栓固定
2、水泥墩頂層表面需有5%的泄水坡度并刷漆
3、圖示為一條管道的做法,多條管道時參照此做法
四消防部件安裝
1)消防警鈴安裝


1、閥組排列整齊
2、水鑼(水力警鈴)設置在報警閥室外的走道內
3、成排安裝水鑼應標識清晰
4、閥組下應設置排水溝
5、報警控制管線應排列整齊
6、壓力開關至接線盒的軟管或軟電纜長度一般不宜超過800mm
7、報警閥組控制區域應在管路上標識清晰
2)噴頭支架設置
支架設置

3)特殊支架設置

噴淋管道末端應采用梯形防晃支架

1、無吊頂時設置上噴頭;有吊頂時設置下噴頭,當吊頂上方悶頂的凈空高度超過800mm,且其內部有可燃物時,要求設置上噴頭;噴頭在系統沖洗試壓合格后安裝
2、當噴淋支管高度大于1000mm時,應設橫向加強支架;末端支架與噴頭之間的距離為400mm
4)噴頭安裝
噴頭安裝


1、直立型噴頭安裝距樓板頂部距離為100mm
2、有吊頂的下垂型噴頭安裝噴頭根部應與吊頂平齊;為避免定位不準,可在吊頂龍骨標高確定后再安裝下噴支管;下噴頭與三通之間的短管長度不宜超過150mm
垂直安裝

邊墻型噴頭安裝離墻距離為50-100mm
水平安裝

當梁、通風管道、排管、橋架寬度大于1.2 m時,增設的噴頭應安裝在其腹面以下部位;風管下噴頭吊架應采取管道延長至風管另外一端邊緣,并在延伸管道末端設置吊架
5)消防栓安裝
安裝要點

消火栓不在門軸側,應在開啟側;消火栓口中心離地高度為1.1 米,允許偏差±10mm

閥門中心距箱側面料140mm,距箱后內表面為100mm,允許偏差±5mm;消火栓箱體安裝的垂直度偏差≤3mm
消火栓箱與各類裝飾面配合安裝做法

五屋面管道安裝
管道支架安裝

連接板必須在天面隔熱層施工前置于保護層上,禁止用膨脹螺栓固定,水泥墩頂層表面需有5%的泄水坡度
透氣管安裝

上人屋面透氣管高度≮2米,不上人屋面透氣管高度≮0.3米,且必須大于當地積雪高度;金屬管道與支架應該采取接地措施
六實驗
一、各種承壓管道系統和設備應做水壓試驗,非承壓管道系統和設備應做灌水試驗
1、隱蔽或埋地的排水管道在隱蔽前必須做灌水試驗,其灌水高度應不低于底層衛生器具的上邊緣或底層地面高度。
檢驗方法:滿水15min水面下降后,再灌滿觀察5min,液面不降,管道及接口無滲漏為合格。
2、安裝在室內的雨水管道安裝后應做灌水試驗,灌水高度必須到每根立管上部的雨水斗。
檢驗方法:灌試驗持續1h,不滲不漏。
3、敞口水箱的滿水試驗和密閉水箱(罐)的水壓試驗必須符合設計與本規范的規定。
檢驗方法:滿水驗靜置24h,觀察不滲不漏;水壓試驗在試驗壓力下10min壓力不降,不滲不漏。
4、室外排水管道埋設前必須做灌水試驗和通水試驗,排水應暢通,無堵塞,管接口無滲漏。
檢驗方法:按排水檢查井分段試驗,試驗水頭應以試驗段上游管頂加1m,時間不少于30min,逐段觀察。
二、強度嚴密性試驗
室內給水管道的水壓試驗必須符合設計要求。當設計未注明時,各種材質的給水管道系統試驗壓力均為工作壓力的1.5倍,但不得小于0.6MPa。金屬及復合管給水管道系統在試驗壓力下觀測l0min,壓力降不應大于0.02MPa,然后降至工作壓力進行檢查,應不滲不漏;塑料管給水系統應在試驗壓力下穩壓1h,壓力降不得超過0.05MPa,然后在工作壓力的1.15倍狀態下穩壓2h,壓力降不得超過0.03MPa,同時檢查各連接處不得滲漏。
三、通水試驗
1、給水系統交付使用前必須進行通水試驗并做好記錄。
檢驗方法:觀察和開啟閥門、水嘴等放水。
2、衛生器具交工前應做滿水和通水試驗。
檢驗方法:滿水后各連接件不滲不漏;通水試驗給、排水暢通。
四、通球試驗
排水主立管及水平干管管道均應做通球試驗,通球球徑不小于排水管道管徑的2/3,通球率必須達到100%。試驗方法:
1、排水立管應自立管頂部將試球投入,在立管底部引出管的出口處進行檢查,通水將試球從出口沖出。
2、橫干管及引出管應將試球在檢查管管段的始端投人,通水沖至引出管末端排出。室外檢查井(結合井)處需加臨時網罩,以便將試球截住取出。
七成品保護
設備保護

設備就位后成品保護

水泵就位后成品保護
管道保護

管井排水管成品保護

衛生間排水主管與支管保護
八末端安裝

潔具安裝位置、標高準確,與土建裝飾相協調

小便器、感應器安裝居中,高度一致,地面磚與墻面磚對縫
江蘇蘇州智淼消防安裝工程公司主營:北京消防施工安裝,消防工程設計,消防維修改造,消防設備檢測,消防驗收代辦,消防維修保養,探測器清洗,消防檢測設備,智慧消防物聯網,消防設備銷售安裝及調試為一體的正規化消防企業。消防改造網址:http://www.hb-xjkj.com/;服務熱線:4006-598-119








蘇公網安備32058102002151號