本文介紹的是松江云安J-XAPD-02A-B防爆消火栓按鈕的安裝布線,供用戶方便在安裝使用時做參考所用。

J-XAPD-02A-B防爆消火栓按鈕端子圖
將J-XAPD-02A-B按鈕的面板從按鈕的防爆殼體上取下,最后松開按鈕防爆外殼的緊固螺絲,打開隔爆腔,按照端子圖的接線方法接好按鈕,【S+、S-】接火災報警控制器的回路總線,【LED+、LED-】接消防泵啟動后的點燈反饋信號,【OUT/K】接消防泵啟動。連線接好后,寫入地址號,地址號唯一,不得重號。最后將按鈕的防爆上蓋裝好,緊固螺釘應均勻擰緊,注意防爆閉合面不要夾雜導線或其它異物。

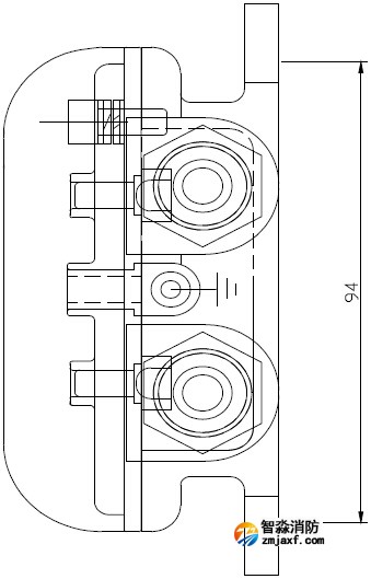
J-XAPD-02A-B防爆消火栓按鈕結構圖
松江云安J-XAPD-02A-B型防爆消火栓按鈕為壓下式帶自鎖,需要人工報警時,用力將按鈕前面盤的有機玻璃壓下,按鈕即可向報警控制器發出報警信號;如需對已按下的按鈕進行復位操作,可將復位鑰匙插入復位孔中,即可實現復位,此結構方式具有很好的防誤動性及可恢復性特點。
江蘇蘇州智淼消防安裝工程公司主營:北京消防施工安裝,消防工程設計,消防維修改造,消防設備檢測,消防驗收代辦,消防維修保養,探測器清洗,消防檢測設備,智慧消防物聯網,消防設備銷售安裝及調試為一體的正規化消防企業。消防改造網址:http://www.hb-xjkj.com/;服務熱線:4006-598-119








蘇公網安備32058102002151號